来源:证券之星港美股
2026-04-17 18:40:41
小鹏集团-W(09868.HK)发布公告,于2026年4月17日,公司根据2025年股份激励计划向69名雇员授出合共225.7万股限制性股份单位(代表相同数量的A类普通股),惟须待承授人接纳后,方可作实。概无限制性股份单位授出须经公司股东批准,且概无承授人为公司董事、最高行政人员或主要股东,亦非前述各方的联系人。
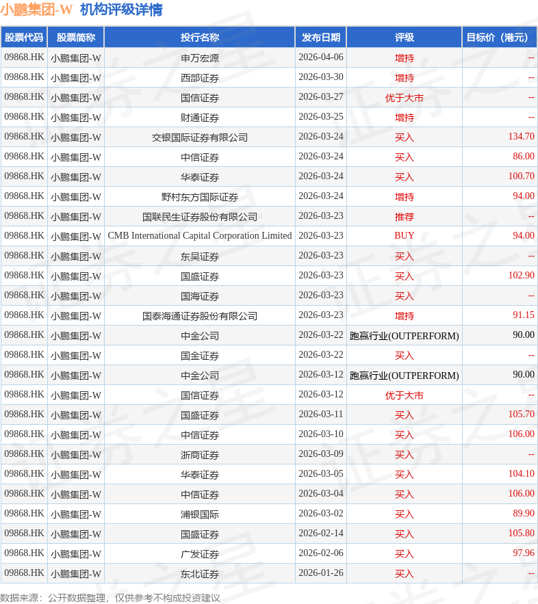
截至2026年4月17日收盘,小鹏集团-W(09868.HK)报收于69.7港元,下跌0.43%,成交量1000.3万股,成交额6.96亿港元。投行对该股的评级以买入为主,近90天内共有16家投行给出买入评级,近90天的目标均价为99.93港元。申万宏源最新一份研报给予小鹏集团-W增持评级。
机构评级详情见下表:

小鹏集团-W港股市值1338.58亿港元,在汽车整车行业中排名第4。主要指标见下表:

以上内容为证券之星据公开信息整理,由AI算法生成(网信算备310104345710301240019号),不构成投资建议。
相关 ETF
证券时报
2026-04-18
证券时报
2026-04-18
21世纪经济报道
2026-04-17
证券之星港美股
2026-04-17
证券之星港美股
2026-04-17
证券之星港美股
2026-04-17
证券之星资讯
2026-04-17
证券之星资讯
2026-04-17
证券之星资讯
2026-04-17