来源:证券之星港美股
2025-10-27 14:50:32
华创证券发布研报称,维持思摩尔国际(06969.HK)“强推”评级,目标价21.90港元。公司是全球电子雾化龙头,技术壁垒高,在监管趋严背景下,电子烟业务或将持续享受份额提升红利,而HNB业务有望打造第二曲线,长期成长可期。根据公司25Q3经营表现和HNB推广进度,该行调整盈利预测,预计25-27年归母净利润为10.58/20.64/26.21亿元(前值为15.14/20.29/24.55亿元),对应PE为76/39/30X。
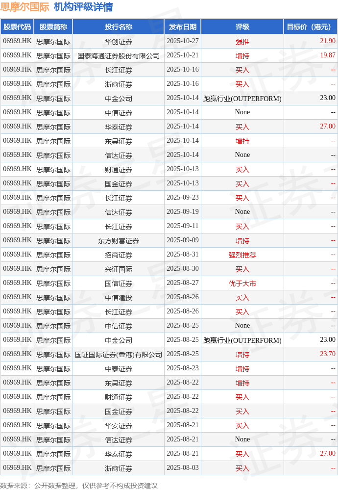
投行对该股的评级以买入为主,近90天内共有15家投行给出买入评级,近90天的目标均价为23.64港元。华创证券最新一份研报给予思摩尔国际强推评级,目标价21.9港元。
机构评级详情见下表:

思摩尔国际港股市值884.37亿港元,在电子制造行业中排名第2。主要指标见下表:

以上内容为证券之星据公开信息整理,由AI算法生成(网信算备310104345710301240019号),不构成投资建议。
证券时报
2026-03-07
证券时报
2026-03-07
21世纪经济报道
2026-03-07
中国基金报
2026-03-07
21世纪经济报道
2026-03-07
21世纪经济报道
2026-03-07
证券之星资讯
2026-03-06
证券之星资讯
2026-03-06
证券之星资讯
2026-03-06