来源:证星持股追踪
2025-10-20 20:13:33
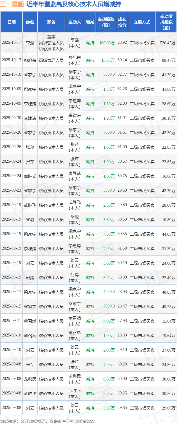
证券之星消息,根据10月20日市场公开信息、上市公司公告及交易所披露数据整理,三一重能(688349)最新董监高及相关人员股份变动情况:2025年10月17日公司董事,高级管理人员,核心技术人员李强、高级管理人员廖旭东共减持公司股份175.03万股,占公司总股本为0.1428%。变动期间公司股价下跌3.66%,10月17日当日收盘报29.21元。
三一重能近半年内的董监高及核心技术人员增减持详情如下:

三一重能的高管列表及最新持股情况如下:

融资融券数据显示该股近5日融资净流入557.12万,融资余额增加;融券净流入7119.0,融券余额增加。
该股最近90天内共有13家机构给出评级,买入评级11家,增持评级2家;过去90天内机构目标均价为34.34。
以上内容为证券之星据公开信息整理,由AI算法生成(网信算备310104345710301240019号),不构成投资建议。
证券之星企业动态
2025-10-21
证券之星企业动态
2025-10-21
证券之星企业动态
2025-10-21
证券之星企业动态
2025-10-21
证券之星企业动态
2025-10-21
证券之星企业动态
2025-10-21
证券之星资讯
2025-10-20
证券之星资讯
2025-10-20
证券之星资讯
2025-10-20