来源:估值之家
2025-06-05 12:04:02
(原标题:瑞贝卡最近“麻烦”有点多)
2025年6月4日晚,瑞贝卡(600439.SH)收到了近一个半月内、由中国证监会河南监管局出具的第二封《行政监管措施决定书》。经查,瑞贝卡于2025年4月29日披露2024年报,其中2024年归母净利润亏损约1.18亿元,由于瑞贝卡未在2025年1月31日前披露2024年度业绩预告,违反《信披管理办法》相关规定。公司董事长兼总经理郑文青、董事会秘书胡丽平、财务总监朱建锐对上述违规行为负主要责任。
根据《信披管理办法》第五十二条规定,中国证监会河南监管局决定对瑞贝卡及郑文青、胡丽平、朱建锐采取出具警示函的行政监管措施,并记入证券期货市场诚信档案。
问题频出的瑞贝卡
第一封《行政监管措施决定书》于2025年4月29日收到,主要内容涉及五点:
第一点、未按规定在2021年报、2022半年报和年报、2023半年报和年报、2024半年报中披露公司与关联方之间非经营性资金往来,以及因关联方之间非经营性资金往来产生的资金占用事项;
第二点、公司与关联方之间非经营性资金往来未及时披露;
第三点、2023年末存货跌价准备计提不充分;
第四点、公司内幕信息知情人登记管理不规范;
第五点、部分董事、监事薪酬未经股东大会审议。
除了以上问题外,根据中喜会计师事务所2025年4月26日开具的《前期会计差错更正专项说明》,瑞贝卡在2022年及2023年度存在贷款受托支付过程中财务处理不规范的情况,未能准确反映公司期末资产实际的分类情况,因此调减2022年货币资金约2.285亿、调增其他应收款2.285亿;同时调减2023年货币资金约3.097亿、调增其他应收款3.097亿。
关联方占用资金也太狠了吧?
能在短短不到一个半月时间内连续收到两封《行政监管措施决定书》,且一下子暴露如此多的问题,其实也不多见,而关联方占用上市公司资金之多,更是不多见。
根据中喜会计师事务所2025年4月26日开具的《瑞贝卡非经营性资金占用及其他关联资金往来情况的专项说明》,2024年瑞贝卡的控股股东“河南瑞贝卡控股有限责任公司”(以下简称“瑞贝卡控股”)累计占用上市公司资金约10.54亿,性质为非经营性占用;除瑞贝卡控股外,其他关联方与上市公司发生的非经营性往来款累计约23.12亿。换句话说,包含控股股东占用、其他关联方与上市公司的非经营性往来款在内,累计金额高达33.66亿元,按2023年瑞贝卡账面现金6.08亿计算,2024年上市公司账面现金的“周转率”高达5.54次。如此高的“周转率”,瑞贝卡资产负债表上的账面现金,有没有可能大部分时间都不在资产负债表上?
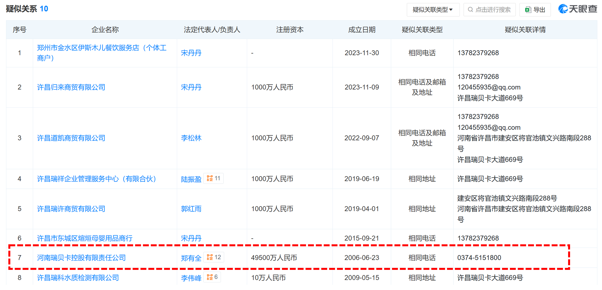
从上表可见,非经营性往来款的发生对象分别是:许昌归来商贸有限公司(以下简称“许昌归来”)、许昌道之霖实业有限责任公司(以下简称“许昌道之霖”)、许昌瑞许商贸有限公司(以下简称“许昌瑞许”)。
根据天眼查数据,许昌归来、许昌道之霖、许昌瑞许分别成立于2023年、2021年、2019年,三家公司注册资本均为1000万,且未再增资,其中许昌瑞许于2024年5月进行了简易注销,剩余两家仍在存续期。由于三家公司成立时间均不久,不禁让人好奇,这三家公司到底是做了什么“大”生意,需要上市公司23.05亿这么大一笔钱?
更离奇的是,这三家公司均由宋丹丹100%控股,而作为上市公司关联方的宋丹丹,却很难发现宋丹丹到底是如何与上市公司“关联”的。一方面,瑞贝卡控股由郑有全100%持股,另一方面,根据天眼查数据,宋丹丹既未在瑞贝卡控股的所有关联公司(含上市公司)中持有股份,也从未担任过任何职务。
根据天眼查数据,宋丹丹与上市公司为数不多的关联关系,竟然只能是和瑞贝卡控股具有相同的联系电话。
暂且不论宋丹丹是什么背景,出现如此巨额的无息非经营性往来款就是不合理的,如果上市公司账面现金大部分时间都不在账上,是不是太过于伤害小股东的利益了?
瑞贝卡的麻烦还有很多
麻烦的不仅仅是两封《行政监管措施决定书》,还有瑞贝卡紧张的流动性。
截至到2025Q1,瑞贝卡账面现金约6.59亿,短期借款15.65亿,一年内到期的有息负债4.19亿,换句话说,现金短债比只有大约33%。而41.27亿的流动资产中,占据大头的是31.26亿的存货,然而按照过去三年1390天的存货周转天数平均值,实在是很难修复瑞贝卡的资产负债表。
不过话说回来,瑞贝卡自身的流动性已经像泥菩萨过河了,还能如此被控股股东和其他关联方巨额占用资金,也真挺不容易的。
如果说全球每5个黑人假发,就有一顶来自河南许昌,而作为河南许昌“假发一哥”的瑞贝卡,今天似乎陷入了迷茫。当时代的变革,要求瑞贝卡从一家纯粹的贴牌代工企业,不得不转型为一家能够把握线上线下渠道的消费品公司,底层经营逻辑层面的变化,显然瑞贝卡还没有适应过来,未来的路或许更加艰难。
公司研究室
2026-03-19
公司研究室
2026-03-19
公司研究室
2026-03-19
电鳗快报
2026-03-19
电鳗快报
2026-03-18
公司研究室
2026-03-16
证券之星资讯
2026-03-19
证券之星资讯
2026-03-19
证券之星资讯
2026-03-19