来源:证券之星资讯
2026-01-30 15:44:01
证券之星 赵子祥
近日,央行北京市分行公示行政处罚决定,国内首批持牌非银行支付机构开联通支付服务有限公司(下称“开联通支付”)因7项违法违规行为,被处以罚没合计3843.49万元的重罚,相关责任人亦被同步追责。
证券之星注意到,这并非公司近年来首次因合规问题领罚,2025年内曾因与身份不明的客户进行交易等原因被央行北京分行罚款超百万元。而在大额罚单背后,其还深陷欠税、司法执行、预付卡业务停摆等多重经营危机,叠加支付牌照即将于5月到期的续展压力,这家老牌支付机构的生存前景堪忧。
涉七项违规领超3000万罚单,合规系统性失守
1月21日,央行北京市分行公布的行政处罚决定信息公示表显示,开联通支付服务有限公司因7项违法违规行为被没收违法所得2555.72万元,并处罚款1287.77万元,罚没合计3843.49万元。

具体来看,开联通支付涉及的7项违法行为类型包括:1.未能确保交易信息真实、完整、可追溯;2.未严格落实风险监测要求;3.未严格落实风险评级相关要求;4.违规开展支付账户向非同名银行账户转账业务;5.违规开展T+0交易结算;6.一次性购卡1万元以上未留存身份证件;7.未严格落实法定代表人开户意愿核实相关要求。
同时,宋某平因对开联通支付的行为(未能确保交易信息真实、完整、可追溯;未严格落实风险监测要求;违规开展T+0交易结算;一次性购卡1万元以上未留存身份证件;未严格落实法定代表人开户意愿核实相关要求)负有直接责任,被罚224548.57元。
证券之星注意到,这并非开联通支付首次因上述违规事项被罚,2020年1月其曾因未履行客户身份识别义务等六项违规被罚没2324.27万元,2025年2月又因与身份不明客户交易被罚118.85万元。
陷欠税、被执行困扰,牌照续展存隐忧
公开资料显示,开联通支付成立于2010年,注册资金1亿元,是国内首批27家获得中国人民银行颁发《支付业务许可证》的非银行支付机构之一,并于2021年成功续展。主要业务包括:预付卡发行与受理(全国)、互联网支付、跨境支付、企业支付解决方案定制等。
大额罚单的背后,开联通支付的经营状况也不甚乐观。2025年3月,国家税务总局北京市朝阳区税务局发布的欠税公告显示,开联通支付欠缴增值税约190万元、城市维护建设税约13万元,合计欠税超200万元,成为支付行业欠税名单中的典型案例。
近几年,支付行业市场饱和、竞争加剧导致利润率下滑,部分中小机构因经营不善收入锐减,进而陷入欠税困境,而开联通支付的欠税问题,一定程度上反映了其经营状态显著承压。
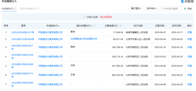
欠税之外,开联通支付还深陷法律纠纷与信用危机。中国执行信息公开网显示,该公司目前可查询的被执行信息已达21条,仅2025年就新增近20起,执行标的从数万元到20多万元不等,且已有7起案件被列入失信被执行人名单。

核心业务的停摆进一步加剧了其经营危机。2026年1月6日,开联通支付发布公告称,预付卡业务系统突发故障,导致持卡人无法刷卡消费、商户无法按期结算,预计10天内完成升级维护。
但截至1月22日,其客服仍表示预付卡业务暂无法使用,恢复时间待定,而本次被罚的七项违规中,就有两项直接涉及预付卡业务。
雪上加霜的是,开联通支付的支付牌照即将到期,续展前景不容乐观。作为国内首批27家获得《支付业务许可证》的机构,其牌照有效期至2026年5月2日,仅剩不足四个月的过渡期。
股权层面的动荡更让其续展之路雪上加霜,持有该公司90%股权的大股东微科睿思在线(北京)科技有限公司,不仅股权全部被冻结,还因“通过登记的住所无法联系”被列入经营异常名录,实际控制权的频繁变更也导致开联通支付的经营稳定性大幅下降。
从股权背景来看,开联通支付的衰落轨迹与资本运作密切相关。2014年,港股上市公司中国支付通通过资本运作控制其90%股权,但随着2023年10月大股东股权质押及控制权变更,开联通支付脱离中国支付通体系,此后经营状况持续恶化。而中国支付通于2024年8月退市,也让开联通支付失去了重要的资本支撑,陷入孤立无援的境地。
对于开联通支付而言,若想在牌照到期前扭转困局,需同时解决合规整改、资本补充、业务恢复三大难题,还需构建立体化合规内控体系,完善核心技术系统,保障数据安全与系统稳定,但这一切都需要充足的资金与团队支撑,而这正是其目前最匮乏的资源。
开联通支付的案例也为所有中小支付机构敲响了警钟,在监管趋严、竞争加剧的行业环境中,合规并非成本而是生存底线,依赖违规操作谋取短期利益终将得不偿失。
随着2026年牌照续展节点的临近,更多经营不善、合规不足的中小机构可能加速退出市场,行业将进一步向合规能力强、业务模式多元的头部机构集中。而开联通支付最终能否跨过续展门槛,或是成为行业出清的又一案例,答案或许不久后就将揭晓。(本文首发证券之星,作者|赵子祥)
证券之星资讯
2026-04-03
证券之星资讯
2026-04-03
证券之星资讯
2026-04-03
证券之星资讯
2026-04-03
证券之星资讯
2026-04-02
证券之星资讯
2026-04-02
证券之星资讯
2026-04-03
证券之星资讯
2026-04-03
证券之星资讯
2026-04-03