来源:证星持股追踪
2026-01-15 21:03:20
证券之星消息,根据1月15日市场公开信息、上市公司公告及交易所披露数据整理,安联锐视(301042)最新董监高及相关人员股份变动情况:2026年1月14日公司董事徐进共减持公司股份3500.0股,占公司总股本为0.005%。变动期间公司股价上涨3.11%,1月14日当日收盘报80.68元。
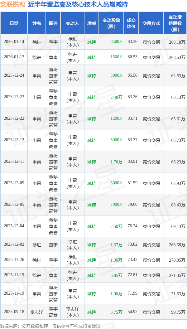
安联锐视近半年内的董监高及核心技术人员增减持详情如下:

安联锐视的高管列表及最新持股情况如下:

融资融券数据显示该股近5日融资净流入6308.02万,融资余额增加;融券净流入0.0,融券余额增加。
该股最近90天内共有4家机构给出评级,买入评级1家,增持评级3家。
以上内容为证券之星据公开信息整理,由AI算法生成(网信算备310104345710301240019号),不构成投资建议。
证星董秘互动
2026-01-15
格隆汇
2026-01-15
格隆汇
2026-01-15
格隆汇
2026-01-15
格隆汇
2026-01-15
格隆汇
2026-01-15
证券之星资讯
2026-01-15
证券之星资讯
2026-01-15
证券之星资讯
2026-01-15