来源:证星持股追踪
2025-12-09 21:03:48
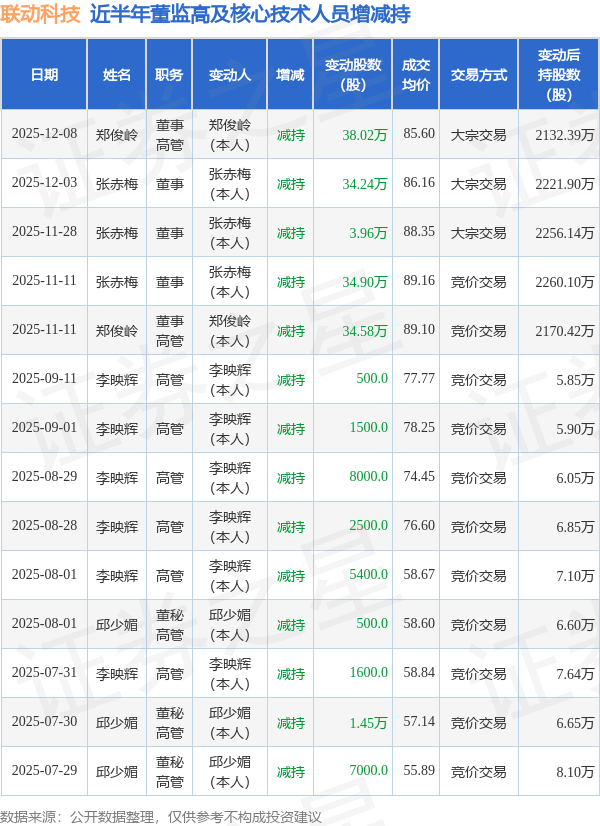
证券之星消息,根据12月9日市场公开信息、上市公司公告及交易所披露数据整理,联动科技(301369)最新董监高及相关人员股份变动情况:2025年12月8日公司董事,高管郑俊岭共减持公司股份38.02万股,占公司总股本为0.5387%。变动期间公司股价上涨2.39%,12月8日当日收盘报109.56元。
联动科技近半年内的董监高及核心技术人员增减持详情如下:

联动科技的高管列表及最新持股情况如下:

融资融券数据显示该股近5日融资净流入346.43万,融资余额增加;融券净流入0.0,融券余额增加。
该股最近90天内无机构评级。
以上内容为证券之星据公开信息整理,由AI算法生成(网信算备310104345710301240019号),不构成投资建议。
证券之星企业动态
2026-03-07
证券之星企业动态
2026-03-07
证券之星企业动态
2026-03-07
证券之星企业动态
2026-03-07
证券之星企业动态
2026-03-07
证券之星企业动态
2026-03-07
证券之星资讯
2026-03-06
证券之星资讯
2026-03-06
证券之星资讯
2026-03-06